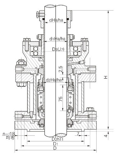
產品介紹產品圖紙
結構:雙端面、大彈簧、平衡型
壓力:≤4MPa
溫度:0~300℃
轉速:≤500轉/分
軸徑:30-95mm
適用介質:易燃、易爆、腐蝕介質
符號
dh8/h8
d1h8/h8
d2h8/h8
D
D1
D2h11
D3J7
H
N-Φ
軸徑
30
30
40
45
185
150
116
85
305
6-Φ18
40
40
50
55
225
170
135
100
317
6-Φ18
50
60
65
235
200
164
120
330
8-Φ18
65
65
75
80
235
200
164
150
345
8-Φ18
80
80
90
95
260
225
188
180
361
12-Φ18
95
95
110
115
290
255
220
215
378
16-Φ18
結構:雙端面、大彈簧、平衡型
壓力:≤4MPa
溫度:0~300℃
轉速:≤500轉/分
軸徑:30-95mm
適用介質:易燃、易爆、腐蝕介質
符號
dh8/h8
d1h8/h8
d2h8/h8
D
D1
D2h11
D3J7
H
N-Φ
軸徑
30
30
40
45
185
150
116
85
305
6-Φ18
40
40
50
55
225
170
135
100
317
6-Φ18
50
60
65
235
200
164
120
330
8-Φ18
65
65
75
80
235
200
164
150
345
8-Φ18
80
80
90
95
260
225
188
180
361
12-Φ18
95
95
110
115
290
255
220
215
378
16-Φ18
|
|
||||||||||||||||||||||||||||||||||||||||||||||||||||||||||||||||||||||||
|
結構:雙端面、大彈簧、平衡型 |
||||||||||||||||||||||||||||||||||||||||||||||||||||||||||||||||||||||||
|
|
||||||||||||||||||||||||||||||||||||||||||||||||||||||||||||||||||||||||
|
|
||||||||||||||||||||||||||||||||||||||||||||||||||||||||||||||||||||||||
|
結構:雙端面、大彈簧、平衡型 |
||||||||||||||||||||||||||||||||||||||||||||||||||||||||||||||||||||||||
|
|
||||||||||||||||||||||||||||||||||||||||||||||||||||||||||||||||||||||||


